本文介紹一種特殊的筆記本電腦。為什麽特殊呢?因為市場上的筆記本電腦都沒有自帶散熱風扇,如果夏天在沒有散熱風扇、空調的地方使用筆記本電腦,比較悶熱,讓人感到不舒服。
發明內容
為了克服現有的筆記本電腦沒有自帶散熱風扇,如果夏天在沒有散熱風扇、空調的地方使用筆記本電腦,比較悶熱,讓人感到不舒服的不足,本文提供一種散熱風扇型筆記本電腦,該散熱風扇型筆記本電腦自帶散熱風扇,夏天在沒有散熱風扇、空調的地方使用筆記本電腦時,可以打開筆記本電腦自帶的散熱風扇吹風,比較涼快,讓人感到舒服。

本文解決其技術問題所采用的技術方案是,一種散熱風扇型筆記本電腦,包括筆記本電腦主體和顯示屏,顯示屏邊框上設置有散熱風扇。
由於該散熱風扇型筆記本電腦包括筆記本電腦主體和顯示屏,顯示屏邊框上設置有散熱風扇。因此,夏天在沒有散熱風扇、空調的地方使用筆記本電腦時,可以打開筆記本電腦自帶的散熱風扇吹風,比較涼快,讓人感到舒服。
附圖說明
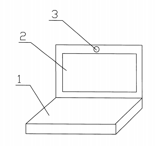
圖1是實施例散熱風扇型筆記本電腦的結構圖。
具體實施方式
如圖1所示,一種散熱風扇型筆記本電腦,包括筆記本電腦主體1和顯示屏2,顯示屏2邊框上設置有散熱風扇3。因此,夏天在沒有散熱風扇、空調的地方使用筆記本電腦時,可以打開筆記本電腦自帶的散熱風扇3吹風,比較涼快,讓人感到舒服。