黄瓜视频免费观看,黄瓜官网软件下载,黄瓜视频APP成年,黄瓜视频软件下载



language 中文簡體 中文繁體 English 目錄在線 目錄下載 收藏黄瓜视频免费观看在線留言站點地圖

黄瓜视频免费观看電機散熱風扇廠家專注如AC黄瓜视频软件下载,DC直流散熱風機生產
深圳工廠:0755-28035670業務專線:13603004952

台灣黄瓜视频免费观看 - 32年散熱風扇研發製造工廠

Taiwan SANJU Electric

深圳市黄瓜视频免费观看電機有限公司

聚焦黄瓜视频免费观看,了解更多風扇知識

​一種便攜式風扇型筆記本電腦散熱風扇

行業新聞​一種便攜式風扇型筆記本電腦散熱風扇

一種便攜式風扇型筆記本電腦供電裝置,含有安裝電腦散熱風扇的散熱座…

Sep 09, 2019
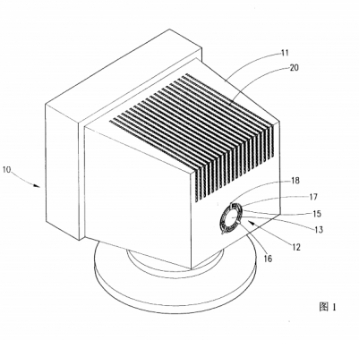
​一種電腦機箱用的電腦散熱風扇

行業新聞​一種電腦機箱用的電腦散熱風扇

本文涉及降低電腦機箱內溫度的裝置,特別是一種電腦機箱用的電腦散熱風扇裝置。 …

Sep 09, 2019
​導風罩式電腦CPU散熱風扇

行業新聞​導風罩式電腦CPU散熱風扇

本文涉及一種電腦CPU散熱風扇,特別是涉及一種導風罩式電腦CPU散熱風扇。 …

Sep 04, 2019
​一種散熱效果較佳的的電腦顯示器的散熱風扇結構

行業新聞​一種散熱效果較佳的的電腦顯示器的散熱風扇結構

​本文涉及一種電腦顯示器內建式散熱風扇,尤指一種散熱效果較佳的的電腦顯示器的散熱風扇結構。…

Aug 22, 2019
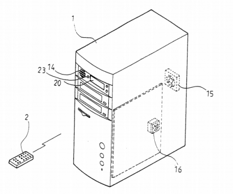
​電腦主機的遙控散熱風扇

行業新聞​電腦主機的遙控散熱風扇

本文涉及電腦主機的散熱風扇,尤指一種可由外部遙控且能依據不同溫度的變化自動調控風扇轉速的電腦主機的遙控散熱風扇。…

Aug 12, 2019
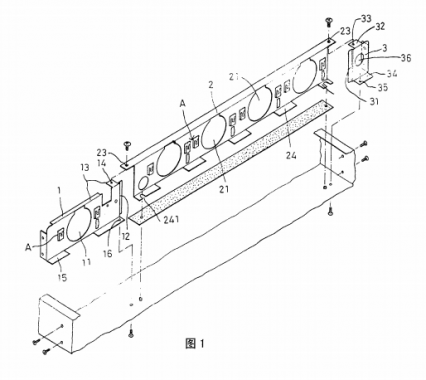
​一種電腦主機散熱風扇固定裝置

行業新聞​一種電腦主機散熱風扇固定裝置

本文提供一種散熱風扇固定裝置,特別是指一種電腦主機的散熱風扇固定裝置。…

Aug 07, 2019
​一種電腦散熱風扇的導流裝置

行業新聞​一種電腦散熱風扇的導流裝置

本文涉及一種電腦散熱風扇的導流裝置,尤其是這樣一種筆記本型電腦散熱風扇的導流裝置…

Jul 31, 2019
散熱風扇配置裝置使風扇減少回流、降低噪音、增加壽命

行業新聞散熱風扇配置裝置使風扇減少回流、降低噪音、增加壽命

以往筆記型電腦 散熱風扇 配置裝置有下列的缺點 (1)散熱風扇的垂直回流 (2)容易產生較大噪音——風源的回流與散熱扇葉形成幹擾,容易造成較大的噪音。 (3)散熱風扇的壽命減短, 本設…

Jul 31, 2019
  • 首頁
  • 上一頁
  • 11
  • 12
  • 13
  • 14
  • 15
  • 16
  • 17
  • 18
  • 19
  • 20
  • 21
  • 下一頁
  • 末頁
  • 28223條記錄
  • 
    關閉

    微信公眾號

    谘詢熱線
    +86-755-2803-5670
    在線客服
    top
    網站地圖